Trong vài năm trở lại đây, quay video chất lượng cao đã trở thành một trong những tiêu chí quan trọng khi người dùng lựa chọn máy ảnh. Tuy nhiên, đi kèm với khả năng quay 4K, 6K hay thậm chí 8K là một vấn đề “kinh niên” quá nhiệt. Và mới đây, một bằng sáng chế vừa được công bố cho thấy Nikon có thể đang tìm ra lời giải cho bài toán này bằng cách phát triển hệ thống tản nhiệt chủ động bằng quạt.

Mục Lục
Bằng sáng chế mới hé lộ hướng đi của Nikon
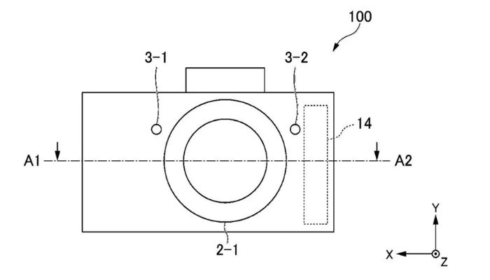
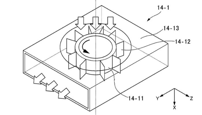
Theo thông tin được công bố trên hệ thống bằng sáng chế Nhật Bản vào ngày 25/3, Nikon đã đăng ký một thiết kế máy ảnh ống kính rời tích hợp hệ thống làm mát bằng quạt. Cụ thể, tài liệu mang mã P2026-53524A mô tả một cơ chế dẫn nhiệt từ bộ xử lý hình ảnh ra phía trước thân máy, nơi nhiệt sẽ được phân tán hiệu quả hơn nhờ luồng gió từ quạt.
Điểm đáng chú ý là từ trước đến nay, Nikon chưa từng trang bị hệ thống tản nhiệt chủ động cho các dòng máy ảnh của mình. Phần lớn sản phẩm của hãng vẫn sử dụng tản nhiệt thụ động, tức là dựa vào thiết kế thân máy và vật liệu để thoát nhiệt.
Việc nghiên cứu và đăng ký một thiết kế hoàn toàn mới cho thấy Nikon đang nghiêm túc nâng cấp khả năng quay video, đặc biệt trong bối cảnh người dùng ngày càng yêu cầu cao hơn về hiệu năng.
Vì sao máy ảnh quay video dễ bị quá nhiệt?
Để hiểu rõ hơn về ý nghĩa của bằng sáng chế này, cần nhìn vào nguyên nhân khiến máy ảnh bị nóng khi quay video.
Khi quay ở độ phân giải cao như 4K hoặc 8K, cảm biến và bộ xử lý hình ảnh phải hoạt động liên tục với cường độ lớn. Ngoài ra, các tính năng như xử lý AI, ghi RAW hay tốc độ khung hình cao cũng khiến lượng nhiệt sinh ra tăng mạnh.
Trong một thân máy nhỏ gọn, không gian để tản nhiệt rất hạn chế. Nếu nhiệt không được giải phóng kịp thời, máy sẽ buộc phải giảm hiệu năng hoặc dừng quay để tránh hư hỏng linh kiện. Ngay cả những mẫu flagship cũng không tránh khỏi vấn đề này. Ví dụ như Nikon Z9 – chiếc máy ảnh cao cấp của Nikon, nó có thể quay 8K với nhiều định dạng khác nhau, nhưng thời gian quay tối đa cũng bị giới hạn. Trong điều kiện lý tưởng, máy có thể ghi hình liên tục khoảng 225 phút, nhưng con số này sẽ giảm khi tăng độ phân giải hoặc khung hình.
Tản nhiệt chủ động: lời giải cho quay video chuyên nghiệp

Đây là lúc hệ thống tản nhiệt chủ động phát huy tác dụng. Khác với tản nhiệt thụ động, hệ thống này sử dụng quạt để hút và đẩy không khí, giúp luân chuyển nhiệt ra khỏi các linh kiện quan trọng nhanh hơn.
Ưu điểm lớn nhất của giải pháp này là duy trì hiệu năng ổn định trong thời gian dài. Với một chiếc máy có tản nhiệt quạt, người dùng có thể quay video liên tục lâu hơn mà không lo bị gián đoạn do quá nhiệt. Điều này đặc biệt quan trọng với:
- Nhà làm phim chuyên nghiệp
- Người quay sự kiện, livestream
- Nhà sáng tạo nội dung cần quay dài
Chỉ cần một lần máy bị dừng giữa lúc ghi hình cũng có thể ảnh hưởng lớn đến công việc.
Nikon sẽ áp dụng công nghệ này cho dòng nào?
Hiện tại, Nikon chưa đưa ra bất kỳ xác nhận chính thức nào. Tuy nhiên, dựa trên định hướng phát triển và tình hình thị trường, có thể đưa ra một số dự đoán hợp lý.
Thế hệ tiếp theo của dòng flagship/ Một trong những khả năng được nhắc đến nhiều là Nikon Z9 II – phiên bản nâng cấp của Z9. Theo các tin đồn, mẫu máy này có thể hỗ trợ quay video 8.3K/60p với định dạng RAW 12-bit, thậm chí sử dụng chuẩn NEV hoặc R3D. Với cấu hình như vậy, việc tích hợp quạt tản nhiệt gần như là điều bắt buộc nếu Nikon muốn đảm bảo hiệu suất ổn định.

Dòng máy quay chuyên video. Một hướng đi khác là Nikon sẽ phát triển một dòng máy hoàn toàn mới, tập trung vào quay video chuyên nghiệp. Đây là phân khúc đang được các đối thủ khai thác rất tốt. Chẳng hạn, Sony FX3 hay Lumix S5II đều đã sử dụng hệ thống quạt tản nhiệt, cho phép quay liên tục trong thời gian dài mà không gặp vấn đề nhiệt. Nếu Nikon muốn cạnh tranh trực tiếp, việc trang bị công nghệ tương tự là điều khó tránh khỏi.
Các mẫu máy nhỏ gọn. Nghe có vẻ bất ngờ, nhưng những chiếc máy nhỏ lại là đối tượng cần tản nhiệt chủ động hơn cả. Do kích thước hạn chế, chúng dễ bị nóng khi quay video dài. Vì vậy, không loại trừ khả năng Nikon sẽ đưa hệ thống quạt vào các dòng máy compact cao cấp hoặc mirrorless tầm trung trong tương lai.
Bước đi chiến lược sau khi mua lại RED
Một yếu tố quan trọng khác cần nhắc đến là việc Nikon đã mua lại RED Digital Cinema – thương hiệu nổi tiếng trong lĩnh vực máy quay điện ảnh. Thương vụ này cho thấy Nikon không chỉ muốn phát triển máy ảnh truyền thống, mà còn hướng tới thị trường điện ảnh chuyên nghiệp. Khi đó, các yếu tố như khả năng quay liên tục, kiểm soát nhiệt độ và chất lượng video sẽ trở nên cực kỳ quan trọng.
Bằng sáng chế về hệ thống tản nhiệt quạt có thể chính là một phần trong chiến lược dài hạn này.
Dù vậy, cũng cần lưu ý rằng không phải mọi bằng sáng chế đều được thương mại hóa. Các hãng công nghệ thường đăng ký nhiều ý tưởng khác nhau, nhưng chỉ một số ít trong đó được đưa vào sản phẩm thực tế. Do đó, hiện tại chúng ta vẫn phải chờ đợi thêm thông tin chính thức từ Nikon để biết liệu hệ thống tản nhiệt này có xuất hiện trên các mẫu máy trong tương lai hay không.
Dù còn ở giai đoạn ý tưởng, nhưng bằng sáng chế lần này cho thấy Nikon đang đi đúng hướng trong việc nâng cao trải nghiệm quay video. Nếu được triển khai thành công, hệ thống tản nhiệt chủ động sẽ giúp máy ảnh Nikon quay video lâu hơn, ổn định hơn, phù hợp hơn với nhu cầu chuyên nghiệp.